大家好!今天我来给大家介绍一种叫“电动拉钉机铆钉铆合快速自动脱离装置”的小工具。简单说,它就是一个能快速、自动地把铆钉固定到金属板(如钢板、铝板)上的便携设备。它可以直接装在普通电钻或充电起子机上使用,不用额外接空压机或电源线,特别适合工地、车库或户外作业。下面,我会用大白话解释它的结构、怎么工作、好处,并举例说明。
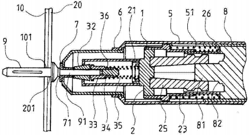
这个装置主要由几个小部件组成,像一个套筒一样装在电钻头上。以下是关键部分(我帮你把复杂术语变通俗):
夹持铆钉的“卡爪”(牙片定位管):
前端有弹簧和牙片(类似小夹子),能紧紧抓住铆钉的杆体。
牙片设计成圆弧锥状,拉钉时自动调整角度。
推动卡爪的“推杆”(推进器和爪片室):
内部有鸭嘴形爪片和撑开器,一压下去就能推动卡爪。
爪片室还有个弹簧,让装置能自动弹回原位。
切割多余杆体的“剪刀”(拉钉阻断器):
固定在推进器前端,有个小孔用来放铆钉杆体。铆钉固定后,它会像剪刀一样“咔嚓”剪断多余部分。
固定支架(内管导套和外管导套):
内管导套连接电钻传动轴,外管导套锁住其他部件,中间有弹簧提供弹力。
内管导套前端的“撑开室”让牙片能张开,方便脱离。
这些部件组装后,就像给电钻装了个“智能铆钉助手”,结构紧凑,携带方便(想象一下手枪大小)。
(注:图2展示了部件的分解结构,帮你直观理解组装关系。)

这个装置的核心是“拉挤-固定-脱离”过程,全靠机械和弹簧完成,不用手动反转电钻。下面是通俗步骤:
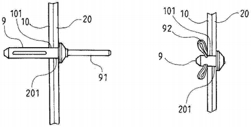
第一步:放入铆钉,对准孔位
把铆钉杆体塞进拉钉阻断器前端的小孔里。
卡爪(牙片)自动夹紧杆体。
然后把铆钉对准金属板上的孔(比如两块钢板叠在一起打的孔)。
(注:图4展示了铆钉放入工件孔的过程。)

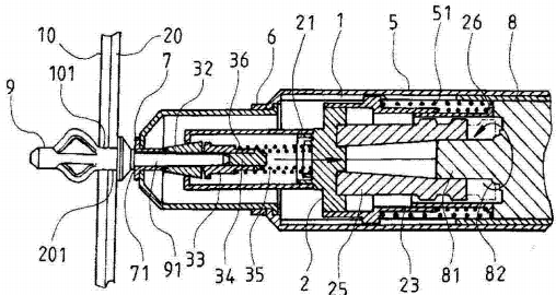
第二步:压紧启动,拉挤成型
按下电钻按钮,同时把推进器往工件方向压。
卡爪被推动,牙片咬合电钻传动轴,带动铆钉杆体向后拉。
铆钉在孔内被挤拉变形,形成“蘑菇头”状的定位突垣(固定铆钉的关键结构)。
(注:图5显示拉挤过程,铆钉在孔内变形。)

第三步:自动脱离,弹簧复位
卡爪拉到内管导套的“撑开室”,牙片自动张开,松开铆钉。
弹簧瞬间把推进器弹回原位,装置自动脱离工件。
同时,拉钉阻断器“咔嚓”剪断多余杆体。
(注:图6展示脱离和剪断动作。)

第四步:清理铁屑(贴心设计)
推进器上有对称剖孔,工作时的铁屑自动排出,避免卡机。
整个流程只要几秒,全自动完成!
便携省事:直接装电钻上,不用拖空压机或电源线,充好电就能带出门。
快速自动:拉钉、固定、脱离、剪断一气呵成,比传统方法快几倍(传统要手动反转电钻)。
牢固可靠:铆钉被挤拉成“蘑菇头”,卡死在金属板间,不易松动(图7看成品效果)。
耐用易维护:弹簧和剖孔设计防卡机,寿命长。
环保安静:无空压机噪音,适合室内外。

场景:小王在汽车修理厂工作,需要把两块生锈的钢板重新连接(比如车门支架)。传统方法要用笨重的气动铆钉机,还得接空压机,噪音大、移动麻烦。
用这个装置后:
小王拿出充电起子机,装上这个“铆钉自动脱离装置”。
塞入一个铆钉到阻断器孔里,对准钢板上的孔。
压紧装置,启动起子机——只听“咔哒”两声:
第一声:铆钉被拉挤变形,固定住钢板(像图6那样)。
第二声:装置自动弹回,剪断多余杆体。
全程不到5秒,钢板牢牢固定!小王不用来回搬设备,也不担心铆钉松动。
好处:修理厂省了电费,噪音小了,效率翻倍。以前一天只能修几辆车,现在轻松处理十几辆!
电动拉钉机铆钉铆合快速自动脱离装置,就是一个“傻瓜式”铆钉工具:
结构简单:夹持、推进、切割三件套,装在电钻上即用。
工作智能:自动拉钉、固定、脱离,全程机械完成。
场景广泛:建筑、汽修、家具组装,任何需要铆钉的地方都适用。
它解决了传统铆钉机的笨重、低效问题,是户外或小作坊的“神器”!(想了解更多细节,可以回看文档中的结构图哦。)